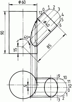
Schiefwinklige Durchdringung zweier Zylinder mit versetzten Achsen